Published:2009/7/20 2:27:00 Author:Jessie | From:SeekIC

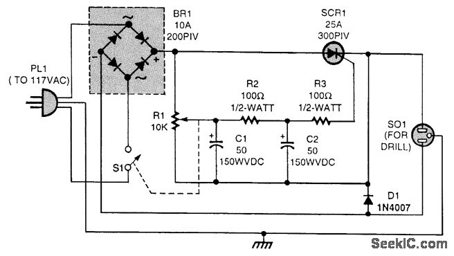
Add this circuit to a single-speed drill to make the speed variable. The bridge rectifier (BR1) provides the full-wave pulsing direct current for the SCR switc (SCR1); BR1 should be rated at 200 PIV and have a current rating of 10 A, while SCR1 should have a PIV of 300 V and a current rating of 25 A. Diode D1 is used to counter the back voltage developed by the drill motor; D1 can be rated at 2 A. The speed of the drill is varied by R1.
Reprinted Url Of This Article:
http://www.seekic.com/circuit_diagram/Automotive_Circuit/SOLID_STATE_DRILL_SPEED_CONTROL.html
Print this Page | Comments | Reading(3)
Code: