Published:2011/8/29 21:23:00 Author:Jessie | Keyword: Sail automatic transmission | From:SeekIC


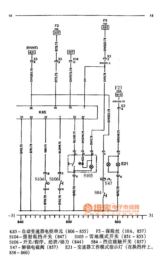
K85-automatic transmission electronic control unit (806 ~ 855), F5-fuse (10A, 857), S104-force low-end switch (847), S105-snow mode switch (851 ~ 855), S106-switch / process, economic / Power (844), S84-gear contact switch (857), Y47-unlock solenoid valve (857), E21-transmission mode indicator (on the shift lever, 858 - 860).
Reprinted Url Of This Article:
http://www.seekic.com/circuit_diagram/Automotive_Circuit/Sail_automatic_transmission_circuit_diagram.html
Print this Page | Comments | Reading(3)
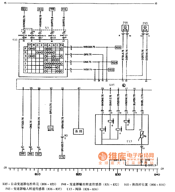
Code: