Published:2011/7/22 21:18:00 Author:qqtang | Keyword: steering alarm | From:SeekIC

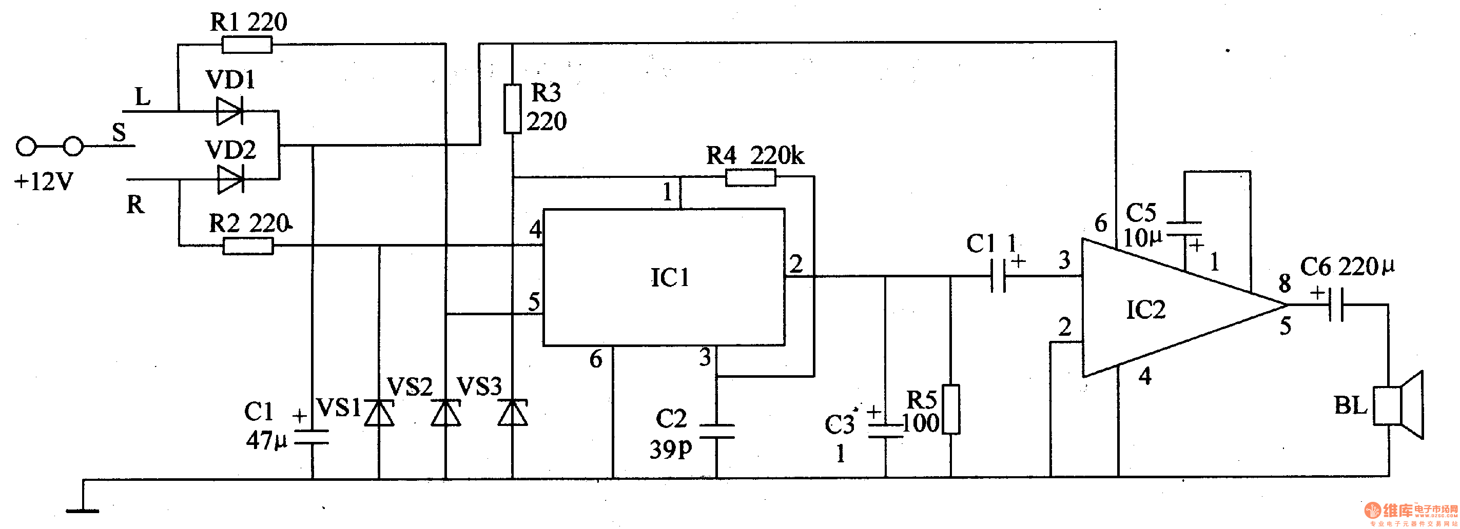
The working principle of the circuit The automobile steering alarm consists of the audio trigger circuit and audio amplifier output circuit, see as figure 7-124.
The audio trigger circuit consists of the resistors R1-R4, diodes of VD1 and VD2, capacitors of C1 and C2, regulated diodes of VS1-VS2 and audio integrated circuit IC1. The audio amplifier output circuit consists of the resistors C3-C6, resistor R5, audio power amplifier integrated circuit IC2 and loudspeaker BL.
Reprinted Url Of This Article:
http://www.seekic.com/circuit_diagram/Automotive_Circuit/The_automobile_steering_alarm_1.html
Print this Page | Comments | Reading(3)
Code: