Published:2011/7/29 4:35:00 Author:qqtang | Keyword: steering alarm | From:SeekIC

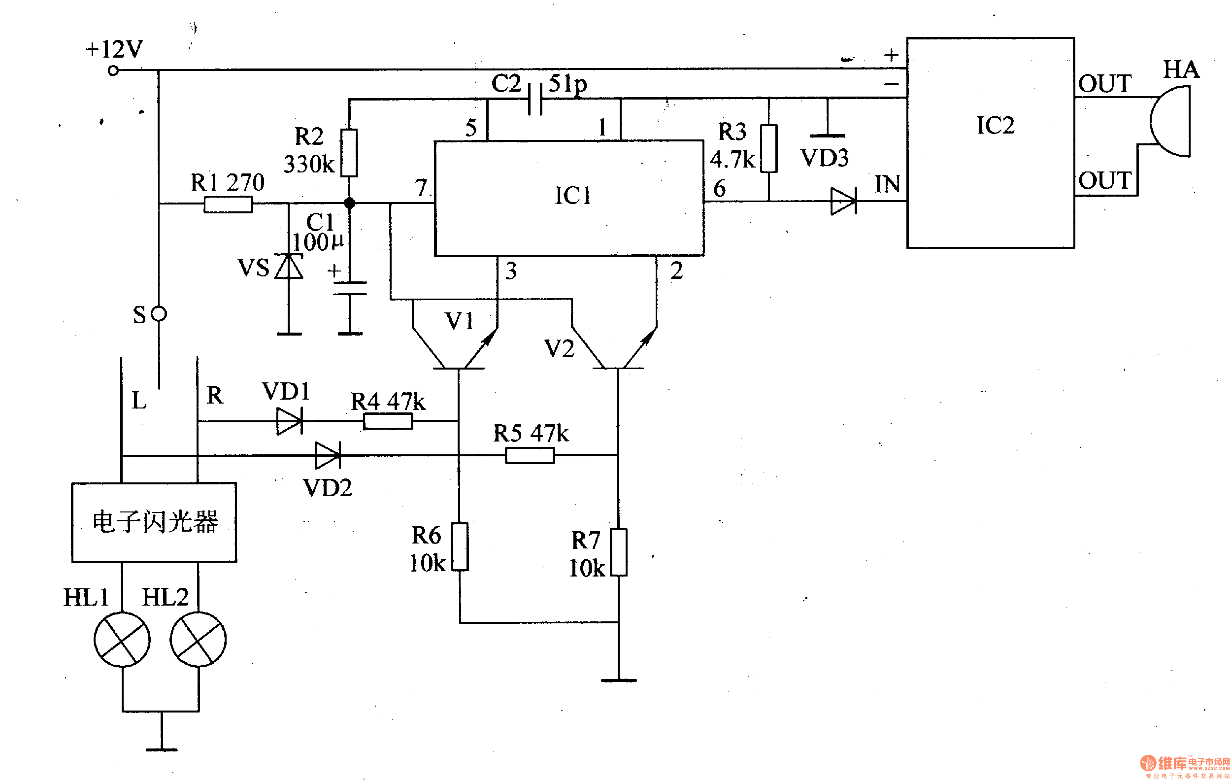
The working principle of the circuitThe automobile steering alarm consists of the regulated circuit, trigger circuit, audio circuit and audio output circuit, see as figure 7-126.
The regulated circuit consists resistor R1, regulated diode VS and filter capacitor C1. The trigger circuit consists of the diodes of VD1 and VD2, resistors R4-R7 and transistors of V1 and V2. The voice circuit consists of the voice integrated circuit IC1, resistor R2 and capacitor C2.The audio output circuit consists of the resistor R3, diode VD3, power amplifier circuit IC2 and ultra loud buzzer HA.
Reprinted Url Of This Article:
http://www.seekic.com/circuit_diagram/Automotive_Circuit/The_automobile_steering_alarm_3.html
Print this Page | Comments | Reading(3)
Code: