Published:2011/7/23 21:12:00 Author:qqtang | Keyword: brake lamp, fault monitor | From:SeekIC

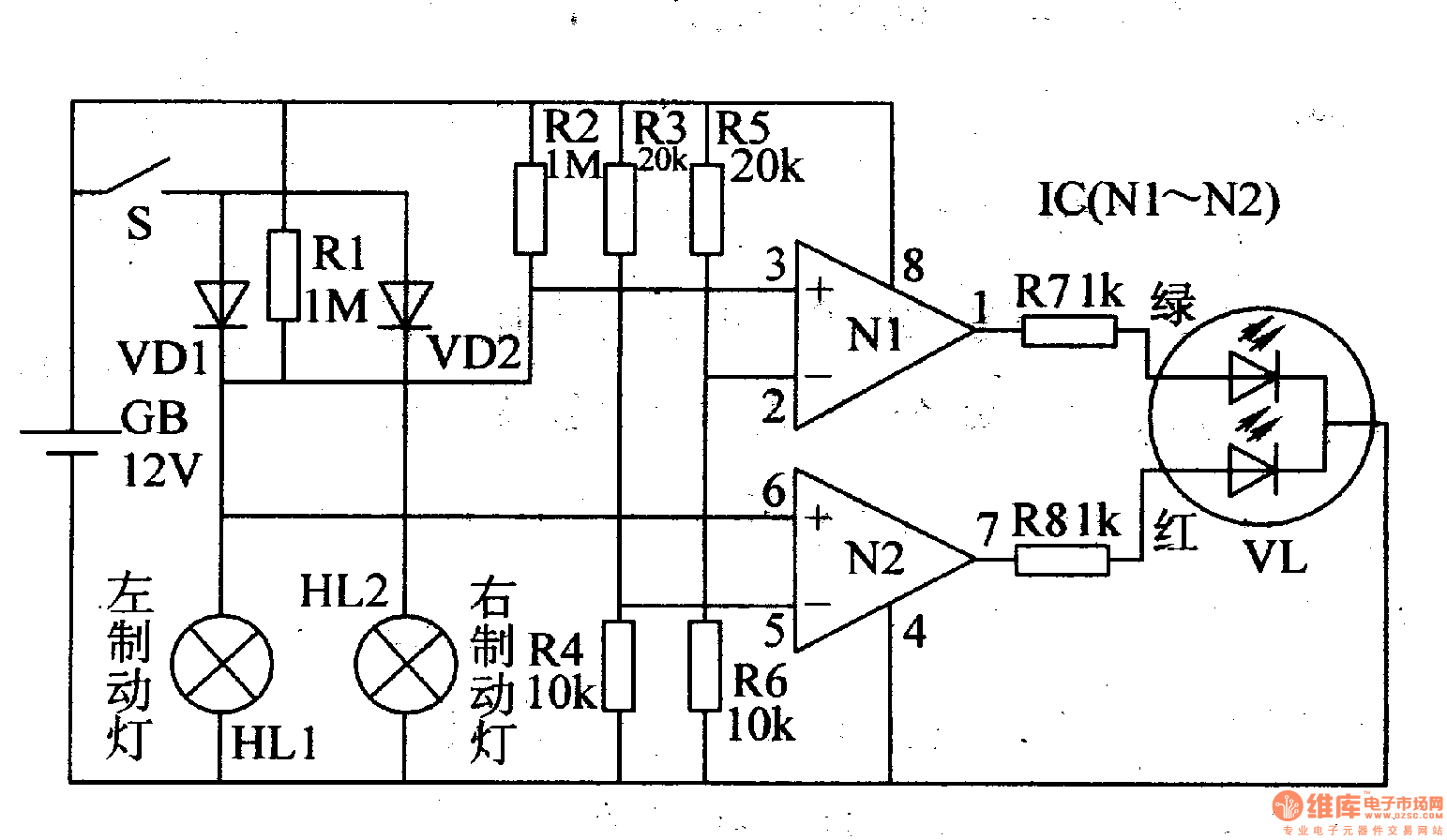
The working principle of the circuitThe car brake lamp fault monitor consists of the dimming LED VL, op-amp integrated circuit IC(N1 and N2) and relevant external elements, see as figure 7-55.
In the circuit, GB is the car storage battery, S is the brake switch, HL1 and HL2 are the left brake lamp and right brake lamp, respectively.
Reprinted Url Of This Article:
http://www.seekic.com/circuit_diagram/Automotive_Circuit/The_car_brake_lamp_fault_monitor_3.html
Print this Page | Comments | Reading(3)
Code: