Published:2011/7/23 20:38:00 Author:qqtang | Keyword: burglarproof alarm | From:SeekIC

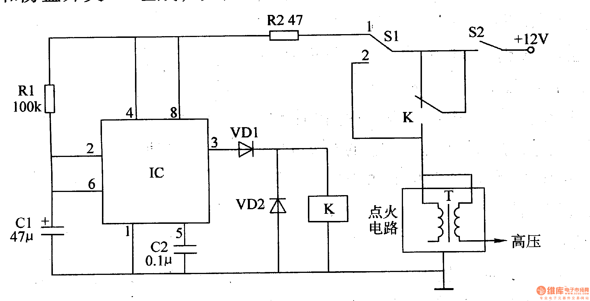
The working principle of the circuit The car burglarproof alarm circuit consists of the time-based integrated circuit IC, resistors R1 and R2, capacitors C1 and C2, diodes VD1 and VD2, relay K and burglarproof switch S1, see as figure 7-67.
Usually, the driver puts the hidden burglarproof switch at the point of 2 , the single steady time circuit consisting of IC, R1, R2, Cl and C2 does not work, the car can start and run normally.
Reprinted Url Of This Article:
http://www.seekic.com/circuit_diagram/Automotive_Circuit/The_car_burglarproof_alarm_1.html
Print this Page | Comments | Reading(3)
Code: