Published:2011/8/3 23:15:00 Author:qqtang | Keyword: car distance, audio reminder | From:SeekIC

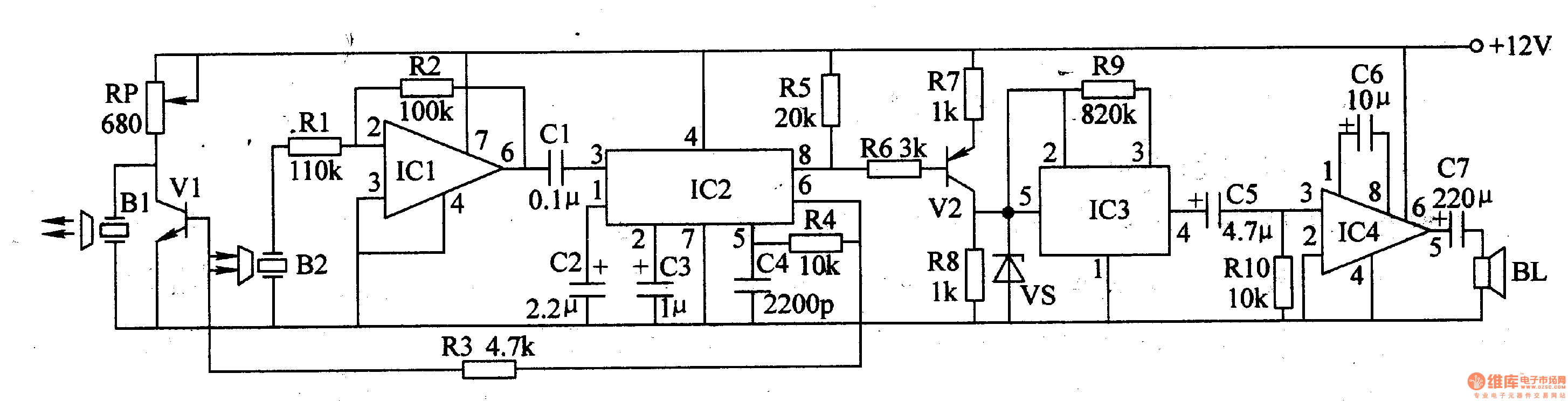
The working principle of the circuit The car distance language reminder circuit consists of the ultra-sonic emitter circuit, ultra-sonic receiver circuit, PLL circuit and audio reminding circuit, etc, see as figure 7-130.
The ultra-sonic emitter circuit consists of the ultra-sonic emitter B1, transistors of V1 and IC2, etc. The ultra-sonic receiver circuit consists of the ultra-sonic receiver B2, op-amp integrated circuit IC1 and external elements. The PLL circuit consists of IC2 and external elements. The audio indicating circuit consists of the transistor V2, language integrated circuit IC3, audio power amplifier integrated circuit IC4 and external elements.
Reprinted Url Of This Article:
http://www.seekic.com/circuit_diagram/Automotive_Circuit/The_car_distance_audio_reminder_1.html
Print this Page | Comments | Reading(3)
Code: