Published:2011/7/22 6:46:00 Author:qqtang | Keyword: audio reminder | From:SeekIC

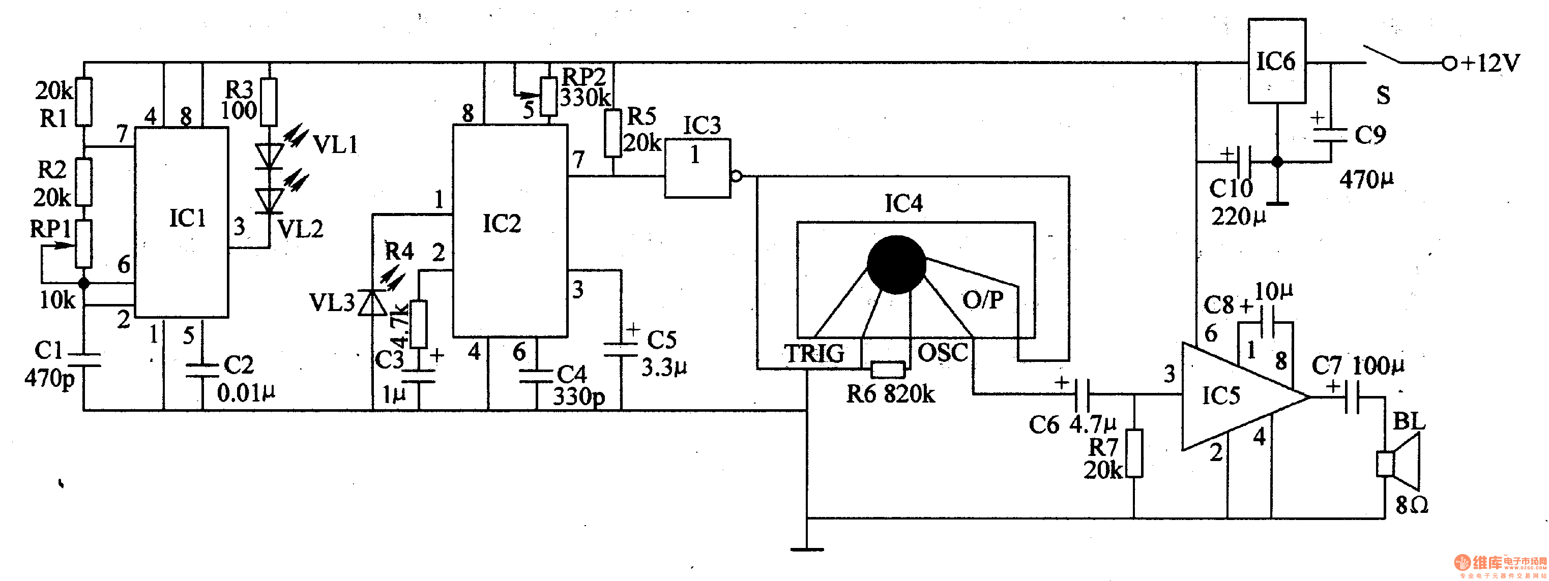
The working principle of the circuitThe car distance language reminder circuit consists of the power supply circuit, infrared emitter, infrared receiver and audio alarm circuit, see as figure 7-131.
The power supply circuit consists of ignite switch circuit, 3-phase regulated circuit IC6 and filter capacitors of C9 and C10. The infrared emitter consists of the relay R3, infrared LED of VL1 and VL2 and the 40khz multi-resonance oscillator circuit. The oscillator consists of the time-based integrated circuit IC1, resistors of R1 and R2, potentiometer RP1 and capacitors of C1 and C2
Reprinted Url Of This Article:
http://www.seekic.com/circuit_diagram/Automotive_Circuit/The_car_distance_audio_reminder_2.html
Print this Page | Comments | Reading(3)
Code: