Published:2011/7/21 21:19:00 Author:qqtang | Keyword: electric igniter | From:SeekIC

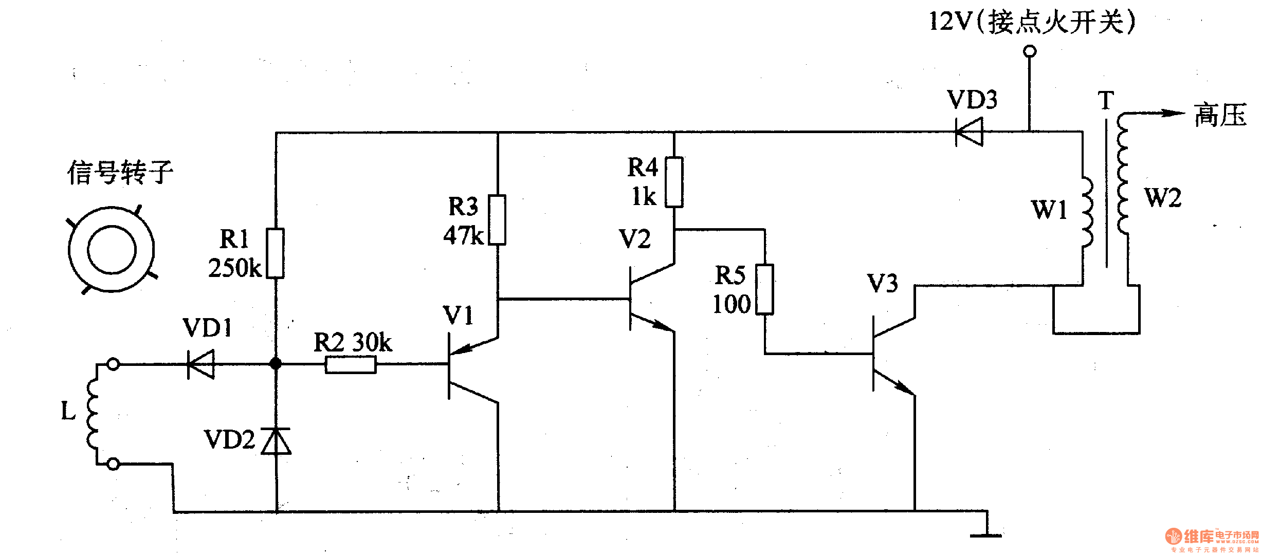
Here is to introduce the car electric igniter which is a contactless transistor igniter, the circuit is simple and easy to make.The principle of the circuitThe car electric igniter circuit consists of the pulse signal generator and switch booster circuit, see as figure 7-133.
The synchronous pulse signal generator circuit consists of the signal rotor (permanent magnet), electromagnet coil L and diode VD1 and VD2.The switch booster circuit consists of the transistor V1-V3, resistor R1-R5 and booster transformer T.
Reprinted Url Of This Article:
http://www.seekic.com/circuit_diagram/Automotive_Circuit/The_car_electric_igniter_2.html
Print this Page | Comments | Reading(3)
Code: