Published:2011/7/20 1:05:00 Author:TaoXi | Keyword: car, electronic, fuel-saving device | From:SeekIC

The principle of the circuit
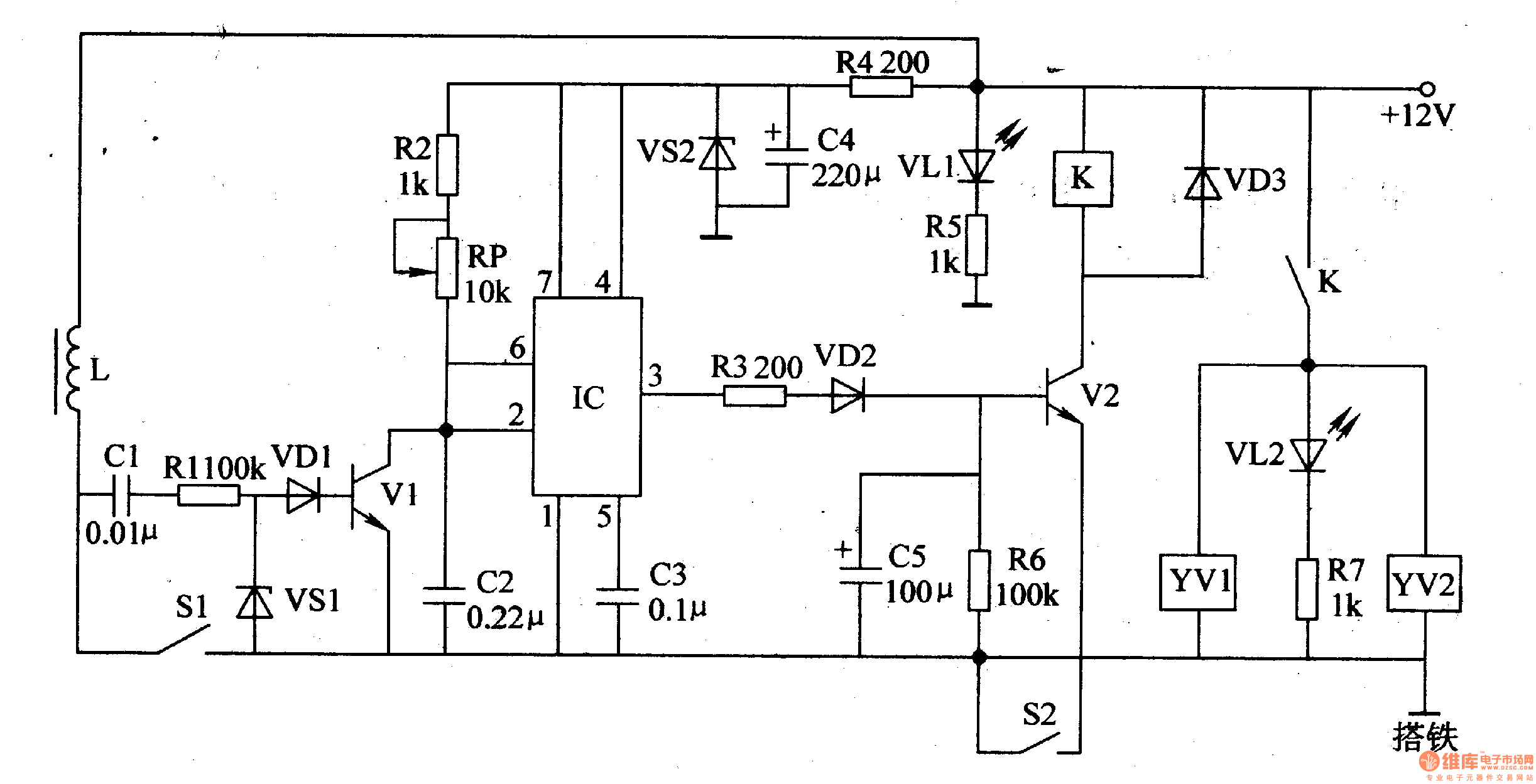
The car electronic fuel-saving device is composed of the transistors Vl and V2, the integrated circuit IC, the relay K, the electromagnetic valves YVl and YV2 and the external components, the circuit is as shown in figure 7-139.
Components selection
The Rl-R3 and R5-R7 are the 1/4W carbon film resistors; the R4 is the lW carbon film resistor.RP is the membrane type variable resistor.Cl-C3 are the monolithic capacitor or the polyester capacitor; the C4 and C5 are the 16V aluminum electrolytic capacitor.VDl-VD3 are the 1N4001 or 1N4007 silicon rectifier diode.The VSl are the 1/4W, 1.8V voltage stabilization diode such as the 1N4614, 2CW5O; VS2 is the 1.5W、6.1V voltage stabilization diode such as the 1N5920.
Reprinted Url Of This Article:
http://www.seekic.com/circuit_diagram/Automotive_Circuit/The_car_electronic_fuel_saving_device_1.html
Print this Page | Comments | Reading(3)
Code: