Published:2011/9/3 22:25:00 Author:Ariel Wang | Keyword: environmental , Noise Monitor | From:SeekIC

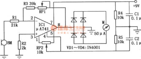
The environmental noise monitor circuit is mainly composed of high-gain op amp μA741. The noise signal will be indicated through the ammeter. Op-amp ICl is connected as noise amplifiers.The noise signal detected by the microphone BM will add to the inverting input of ICl.After it is amplified.It is rectified by the diode VDl ~ VD4 full-wave.And finally it makes the meter deflect. Thus it indicates the strength of environmental noise .When it is adjusted, the microphone should be short ended first , then you should adjust the zero potentiometer RP2.The ammeter indicates zero.You should adjust the potentiometer RPl.It can change the meter sensitivity. And the noise intensity corresponding to the meter scale value can be calibrated by a standard monitor.
Reprinted Url Of This Article:
http://www.seekic.com/circuit_diagram/Automotive_Circuit/The_environmental_Noise_Monitor.html
Print this Page | Comments | Reading(3)
Code: