Published:2011/7/15 21:46:00 Author:Ariel Wang | Keyword: rooster, hen , discriminator | From:SeekIC

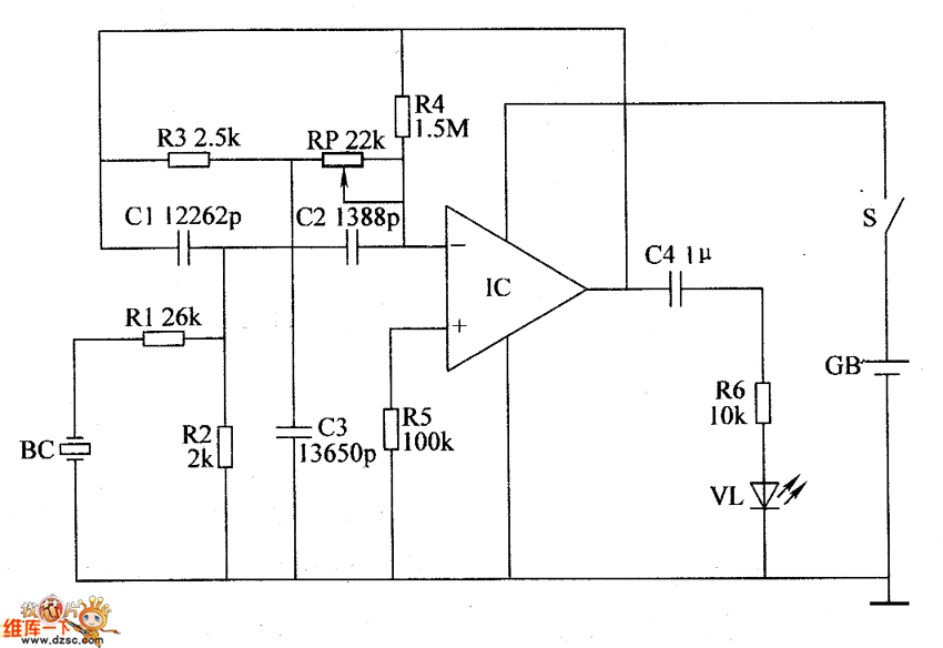
When the mains switch gets through,IC is conducted to work.BC converts the received chickling sound into the electric signal.It filtered the unwanted frequency below 5kHz by the active band-pass filter.It amplifies and outputs needed frequency signal.If the peeping chickling is hen.Then IC outputs voltage with signal.VL is lighted.If the peeping chickling is rooster.Then there is no signal output.VL is not lighted.You can adjust the resistence of RP.It can change the selective frequency of the active band-pass filter.So the identification of whether it's rooster or hen becomes more accurate.
Reprinted Url Of This Article:
http://www.seekic.com/circuit_diagram/Automotive_Circuit/the_circuit_of_whether_rooster_or_hen_discriminator1.html
Print this Page | Comments | Reading(3)
Code: