Published:2011/7/8 5:22:00 Author:Ariel Wang | Keyword: fill light, chicken farm | From:SeekIC

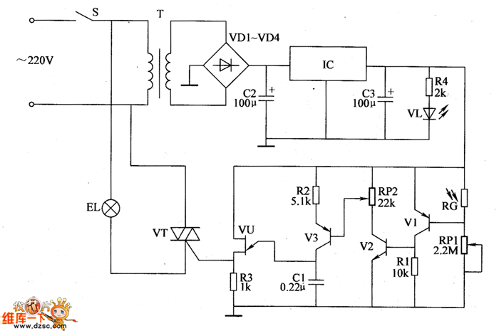
The 220V AC voltage is reduced by T,commutated by VD1~VD4,filtered by C2 and regulated IC.Then it becomes +9V voltage.It is the working power supply for the photometry circuit and the dimming circuit.At the same time,VL is lighted by R4.When in the daytime,the resistence of RC is low.V1~V3,VU and VT are stopped.EL isn't lighted.When in the cloudy and rainy day,the resistence of RC increases.V1~V3,VU and VT are all conducted.EL is lighted.The dimmer the light,the stronger the electric current,the faster of the C1's charging speed.The trigger pulse generated by VU increases the conduction angle of VT.And the brightness of EL becomes stronger.
Reprinted Url Of This Article:
http://www.seekic.com/circuit_diagram/Automotive_Circuit/the_fill_light_circuit_of_the_chicken_farm2.html
Print this Page | Comments | Reading(3)
Code: