Published:2011/7/15 21:05:00 Author:chopper | Keyword: phase-shifting starter | From:SeekIC

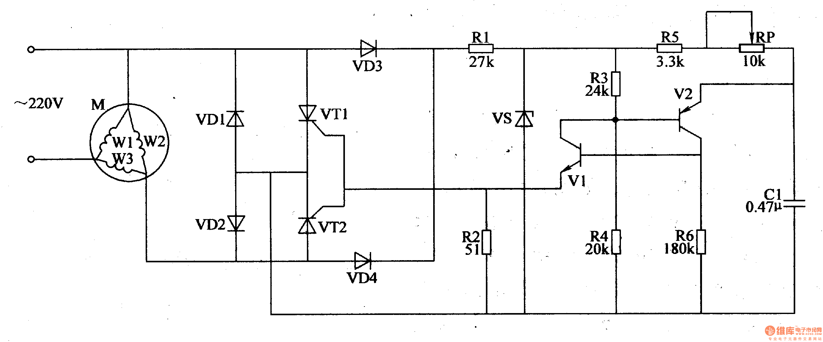
Three-phase AC motor usually requires to install phase-shifting capacitor to start when it uses 220V voltage.As for the three-phase AC motor whose power is 2-3KW,it needs the phase-shifting capacitor whose capacity is over 2OOμF,and the capacitor size is bigger,the price is higher.This example describes the three-phase motor phase-shifting starter,which can replace the phase-shifting capacitor,and make the three-phase AC motor in 220V AC supply voltage easier to start, and more reliable than phase-shifting capacitor.
Reprinted Url Of This Article:
http://www.seekic.com/circuit_diagram/Automotive_Circuit/three_phase_motor_phase_shifting_starter.html
Print this Page | Comments | Reading(3)
Code: