Published:2009/7/12 23:33:00 Author:May | From:SeekIC

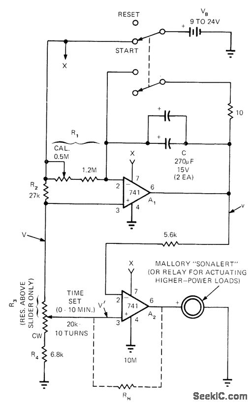
After calibration, accuracy is independent of battery voltage because source voltage affects charging voltage of C and threshold of comparator A2 equally. Time delay t fortimer is CR1R3/R2.-M. Strange, Simple Electronic Timer is Compact and Accurate, EDNMagazine, April20, 1973, p89 and 91.
Reprinted Url Of This Article:
http://www.seekic.com/circuit_diagram/Basic_Circuit/0_10_min_WITH_1_s_ACCURACY.html
Print this Page | Comments | Reading(3)
Code: