Published:2009/7/5 20:39:00 Author:May | From:SeekIC

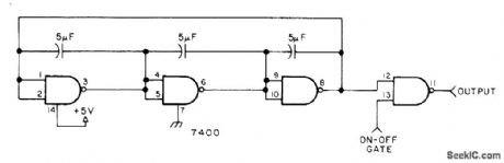
Quad NAND gate gives sawtooth output waveform at 800 to 1000 Hz for driving other TTL circuits.-Circuits. 73 Magazine. June 1977.p 49
Reprinted Url Of This Article:
http://www.seekic.com/circuit_diagram/Basic_Circuit/1000_Hz_WITH_ONE_CHIP.html
Print this Page | Comments | Reading(3)
Code: