Published:2009/7/15 1:54:00 Author:Jessie | From:SeekIC

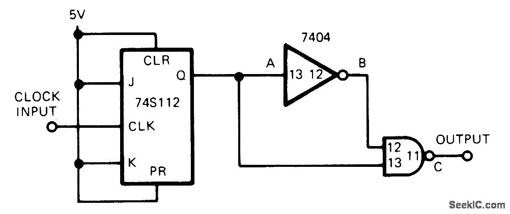
Developed for measuring impulse response of surface acoustic wave devices, for which pulse width had to be under 10 ns for frequency spectrum of about 100 MHz. Propagation delay time of 7404 inverter establishes output pulse width.-R. J. Lang, W. A. Porter, and B. Smilowitz, Simple Circuit Generates Nanosecond Pulses, EDN Magazine, Sept. 5, 1975, p 77-78.
Reprinted Url Of This Article:
http://www.seekic.com/circuit_diagram/Basic_Circuit/100_MHz.html
Print this Page | Comments | Reading(3)
Code: