Published:2009/7/14 1:46:00 Author:May | From:SeekIC

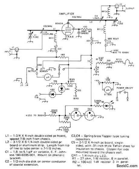
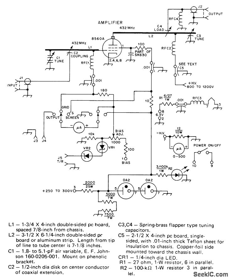
Medium-powered amplifier using 8560A conduction-cooled tetrode provides extra power needed for use of Oscar satellite in mode B on 432.15 MHz, with drive of only 7 W. Half-wave grid is fabricated from double-sided printed-circuit board. Capacitive probe to grid line serves for input coupling. Half-wave plate line is capacitively tuned by movable vanes. Article covers construction in detail.-T. McMullen, A Tramplifier for 432 MHz, QST, Jan. 1976, p 11-15.
Reprinted Url Of This Article:
http://www.seekic.com/circuit_diagram/Basic_Circuit/100_W_LINEAR_FOR_432_MHz.html
Print this Page | Comments | Reading(3)
Code: