Published:2009/7/2 4:51:00 Author:May | From:SeekIC

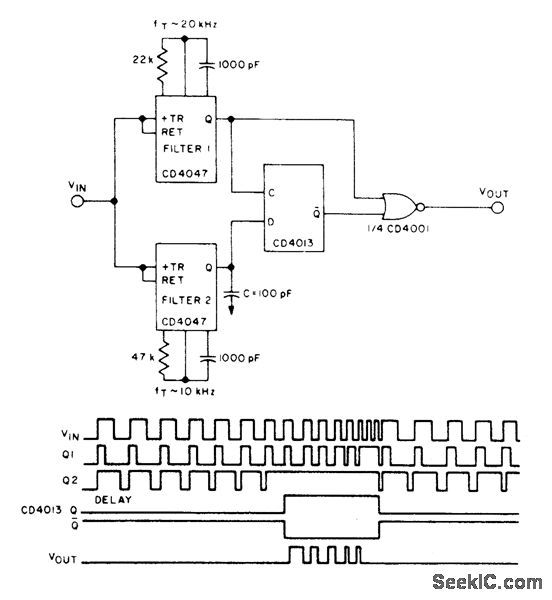
Two CD4047A lowpass filters, one connected for 10-kHz cutoff and other for 20-kHz cutoff, drive CD4013A flip-flop.If output of filter 2 is delayed by C, flip-flop clocks high only when input pulse frequency exceeds 10-kHz cutoff of filter 2. Waveforms show performance when input signal is swept through passband.- CQS/MOS Integrated Circuits, RCA Solid State Division, Somerville, NJ,1977,p 619.
Reprinted Url Of This Article:
http://www.seekic.com/circuit_diagram/Basic_Circuit/10_20_kHz_BANDPASS.html
Print this Page | Comments | Reading(3)
Code: