Published:2009/7/9 4:49:00 Author:May | From:SeekIC


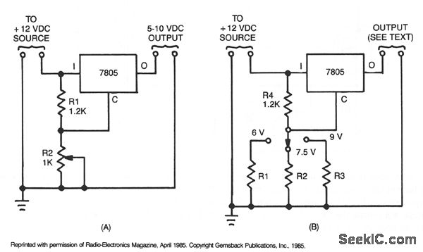
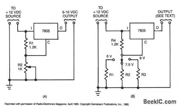
Many devices operate from a car's 12-V electrical system. Some require 12 V; others requtre some lesser voltage. An automobile battery's output can vary from 12 to 13.8 V under normal circumstances. The load requirements of the device might vary. This circuit maintains a constant voltage regardless of how those factors change. Simple circuit, A, uses a 7805 voltage regulator. In addition to a constant output, this IC provides overload and short-circuit protection. That unit is a 5-V, 1-A regulator, but when placed in circuit B, it can provide other voltages as well. When the arm of potentiometer R1 is moved toward ground, the output varies from 5 to about 10 V.
Reprinted Url Of This Article:
http://www.seekic.com/circuit_diagram/Basic_Circuit/12_TO_16_V_CONVERTER.html
Print this Page | Comments | Reading(3)
Code: