About SeekIC | Services | Payment | Advertisements service | Contact Us | Links
© 2008-2012 SeekIC.com Corp.All Rights Reserved.
Published:2009/7/5 20:31:00 Author:May | From:SeekIC

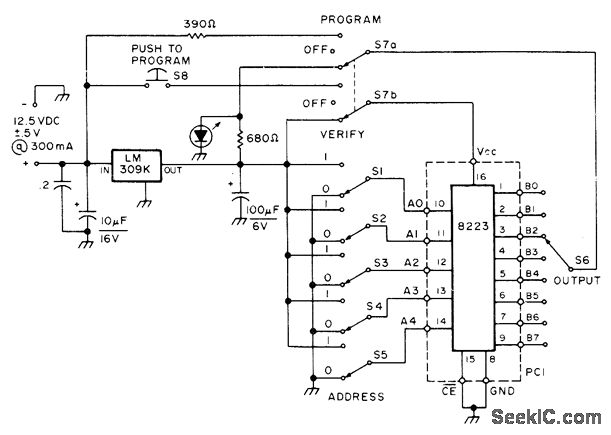
Circuit includes regulator for operation from 12-V auto storage battery. Developed to use 8223 32-word by 8-bit memory as CW identifier. All outputs of memory are initially at logic 0, so only logic 1s need to be programmed. After programming a 1, LED comes on to confirm it when S7 is switched to VERIFY. Do not hold S8 down longer than 1 s.-G. W. Kufchak, The PROM Zapper, 73 Magazine, Sept. 1976, p 112.
Reprinted Url Of This Article:
http://www.seekic.com/circuit_diagram/Basic_Circuit/12_V_PROGRAMMER_FOR_PROM.html
Print this Page | Comments | Reading(3)
Response in 12 hours
© 2008-2012 SeekIC.com Corp.All Rights Reserved.
Code: