Published:2009/7/14 2:56:00 Author:May | From:SeekIC

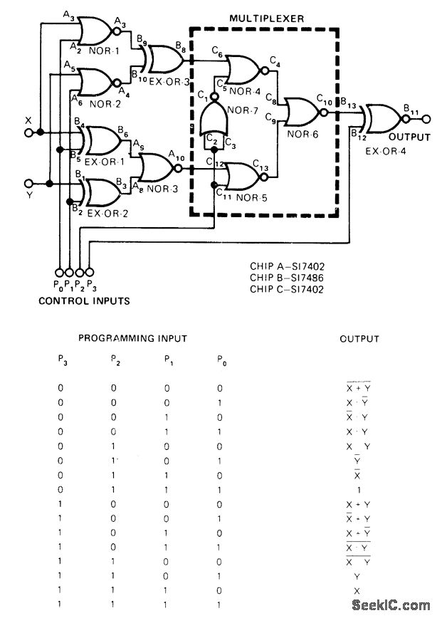
With only three IC chips, circuit provides choice of any one of 16 possible functions of two Boolean variables, Table shows output states for all programming combinations of control inputs P.-S. Murugesan, Programmable Logic Circuit Has Versatile Outputs, EDN Magazine, Feb. 5, 1975,p 57.
Reprinted Url Of This Article:
http://www.seekic.com/circuit_diagram/Basic_Circuit/16_FUNCTIONS_OF_X_AND_Υ.html
Print this Page | Comments | Reading(3)
Code: