Published:2009/7/15 2:01:00 Author:Jessie | From:SeekIC

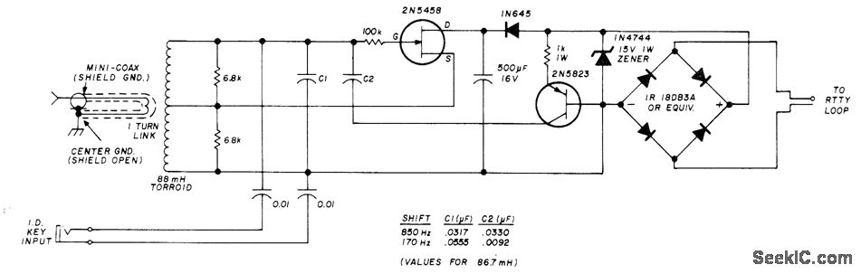
Simple AF RTTY keyer uses 2N5823 silicon PNP transistor switch instead of optical coupler. Short piece of coax serves as 1-turn output link. Outer shield is grounded only at coaxial connector so braid acts as Faraday shield, eliminating capacitive signal and noise pickup from circuit.-E. Noll, Circuits and Techniques, Ham Radio, April 1976, p 40-43.
Reprinted Url Of This Article:
http://www.seekic.com/circuit_diagram/Basic_Circuit/170_OR_850_Hz_SHlFT.html
Print this Page | Comments | Reading(3)
Code: