Published:2009/7/11 4:55:00 Author:May | From:SeekIC

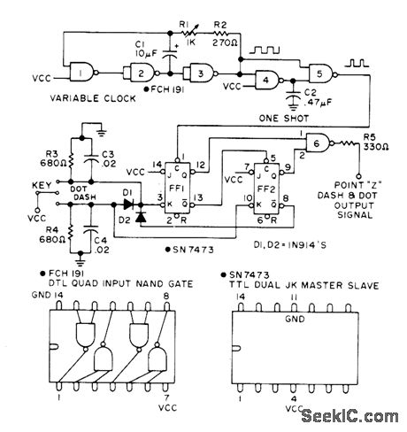
Gives accurate 1 :3 dotdash ratio at any desired keying speed, with self-completing characters. NAND gates 1, 2, and 3 of first FCH191 form variable-frequency square-wave oscillator, with C1, R1, and R2 determining frequency. With values shown, frequency is adjustable from about 150 to 1500 Hz, equivalent to code speed range of about 4 to 40 WPM. NAND gates 4 and 5 form mono MVBR. Flip-flops FF1 and FF2 are SN7473 TTL JK master-slave, acting with D1, D2, and NAND gate 6 to generate dots and dashes.-H. P. Fischer, Versatile IC Keyer, 73 Magazine, Sept. 1973, p 69-71.
Reprinted Url Of This Article:
http://www.seekic.com/circuit_diagram/Basic_Circuit/1_3_DOT_DASH_KEYER.html
Print this Page | Comments | Reading(3)
Code: