Published:2009/7/6 22:38:00 Author:May | From:SeekIC

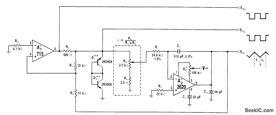
Rt and Ct are chosen for upper frequency limit of 20 kHz,and oscillator is adjustable down to lower limit of 20 Hz with R5Circuit will operate up to 100 kHz if component values are suitably changed.A2should be offset-nulled by adjusting for best symmetry at lowest frequency. Total width of T of output waveform varies between 50 μs and 50 ms at frequency range covered.-W. G. Jung, IC Op-Amp Cookbook, Howard W. Sams, Indianapolis, IN, 1974, p 381-383.
Reprinted Url Of This Article:
http://www.seekic.com/circuit_diagram/Basic_Circuit/20_20000_Hz_SQUARE_TRIANGLE.html
Print this Page | Comments | Reading(3)
Code: