Published:2009/7/23 22:48:00 Author:Jessie | From:SeekIC

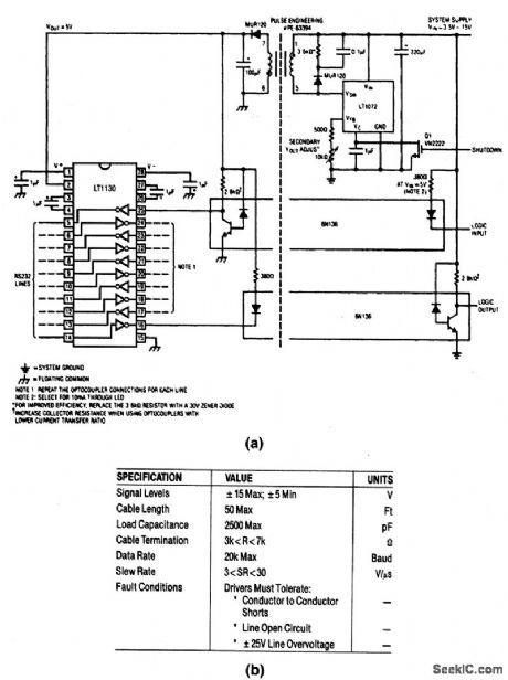
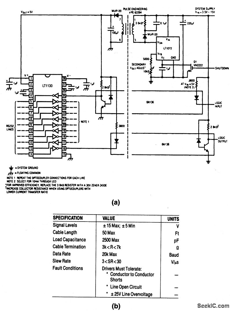
This circuit provides 2500-V isolation with optically coupled data lines, and an isolated 5-V supply. A powered transceiver eliminates the need for three supplies on both sides of the isolation transformer. The circuit meets the key RS-232 transceiver specifications (EIA RS232C.V28) shown in Fig. 6-68B.
Reprinted Url Of This Article:
http://www.seekic.com/circuit_diagram/Basic_Circuit/2500_V_isolated_5_driver_5_receiver_RS_232_transceiver.html
Print this Page | Comments | Reading(3)
Code: