Published:2009/7/6 23:53:00 Author:May | From:SeekIC

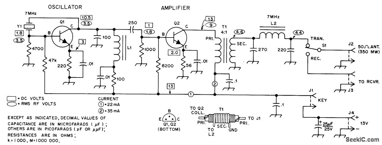
Two-transistor circuit is easily assembled on circular printed-circuit board small enough to fit into tunafish can, for low-power (QRP) operation. Simple Pierce crystal oscillator 01 feeds class C ampli-fier 02. La is made by unwinding 10-μH Radio Shack choke 273-101 and filling form with No. 28 or 30 enamel to give 24 μH. Similar choke is unwound so only 11 turns remain (1.36 μH), with turns spaced one wire thickness apart for L2. Adjustspacing of turnsfor maximum output during final tune-up with transmitter operating into 50-ohm load. Fortl, remove all but 50 turns from 100-μH Radi. Shack choke 273-102 andwind 25 turns No,22 or 24 Henamel over these,Supply can be nlne Penlite, C, or D cells in seriesor 12-V or13-V regulated DC supply al and a2 are 2N2222A or equivalent Y1 is 7-MHz fundamental crysta:-D,DeMaw'Build a Tuna-Tin 2, QST, May 1976, p 14-16.
Reprinted Url Of This Article:
http://www.seekic.com/circuit_diagram/Basic_Circuit/250_mW_FOR_40_METER_CW.html
Print this Page | Comments | Reading(3)
Code: