Published:2009/7/8 4:05:00 Author:May | From:SeekIC

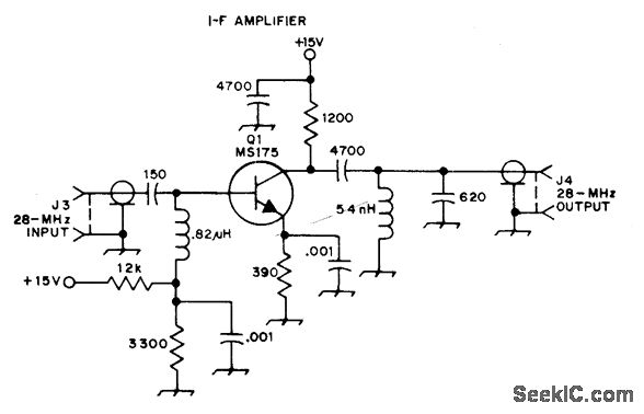
Developed for use with 2304-MHz balanced mixer. Provides required match between 50-ohm mixer output and input of 28-MHz IF amplifier in UHF receiver.Input and output connections are made with short lengths of RG-58/U coax. Noise figure is less than 1.5 dB.-L. May and B. Lowe, A Simple and Efficient Mixer for 2304 MHz, QST, April 1974, p 15-19 and 31.
Reprinted Url Of This Article:
http://www.seekic.com/circuit_diagram/Basic_Circuit/28_MHz_LOW_NOISE.html
Print this Page | Comments | Reading(3)
Code: