Published:2009/7/7 2:05:00 Author:May | From:SeekIC

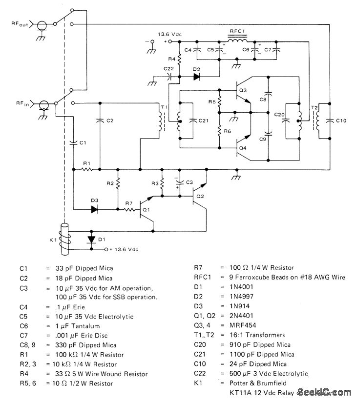
Uses two Motorola. MRF454 transistors Q3-Q4 in circuit providing relatively flat gain over frequency band, as required for power amplifier of amateur SSB transmitter. Bias diode D2 is mounted on heatsink of Q3-Q4 for temperature tracking. Circuit includes carrier-operated relaydriven by Q1 and - Q2.-T. Bishop, 14QW (PEP) Amateur RadioLinear Amplifier 2-3QMHz, Motorola, Phoenix,AZ, 1976, EB-63.
Reprinted Url Of This Article:
http://www.seekic.com/circuit_diagram/Basic_Circuit/2_3Q_MHz_14Q_W_LINEAR.html
Print this Page | Comments | Reading(3)
Code: