Published:2009/7/7 2:39:00 Author:May | From:SeekIC

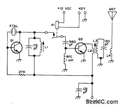
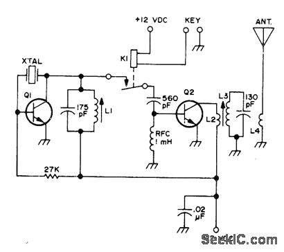
Can supply up to 1W of RF out-put on CW for portable or low-power (QRP) amateur radio operation. Provides chirpless keying with negligible backwave. Operates from 12-V car battery or lantern batteries. Oscillator uses 7-MHz fundamental crystal and 40080 transistor al, with 40081 in final stage. L1 is 20 turns No.28 on 1/4-inch slug-tuned form. L3 is 28 turns No.28 on 1/4-inch slug-tuned form, with 5 turns No.24 wound on it for L2 and the same for L4. Article covers construction and operation.-C. Klinert, Simple QRP Transmitter, 73 Magazine, Aug. 1973, p 65-67.
Reprinted Url Of This Article:
http://www.seekic.com/circuit_diagram/Basic_Circuit/2_METER_QRP.html
Print this Page | Comments | Reading(3)
Code: