Published:2009/7/3 3:00:00 Author:May | From:SeekIC

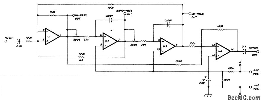
Provides choice of high-pass, bandpass, low-pass, and tunable notch outputs. Uses National LM324 quad opamp. Tuning pots are ganged 500K 2-W carbon with reverse log taper. Notch of -35 dB is 200 Hz wide at -3 dB points. Notch output has unity gain with respect to input signal, but other three outputs provide gain.-P.A. Lovelock, Discrete Operational Amplifier Active Filters, Ham Radio, Feb.1978, p 70-73.
Reprinted Url Of This Article:
http://www.seekic.com/circuit_diagram/Basic_Circuit/300_3000_Hz_TUNABLE_FOUR_FUNCTION.html
Print this Page | Comments | Reading(3)
Code: