Published:2009/7/13 22:23:00 Author:May | From:SeekIC

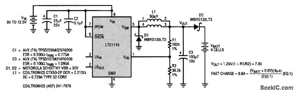
Low-current battery-charger circuits are required in hand-held products such as palmtop, pen-based, and fingertip computers. The charging circuitry for these applications must use surface-mount components and consume minimal board space. The LTC1174 circuit shown provides both of these features. The LTC1174 is a current-mode, step-down switching regulator with a low-loss internal P-channel MOSFET power switch. In this circuit, the peak switch current is programmed to 600 mA. The average charging current is determined by the choice of inductor value and the actual battery voltage, according to the equation. The voltage feedback resistor network is set for an output voltage of 7 Y. NiCd cells have a nominal voltage of 1.2 V, a discharged voltage of 0.9 V, and a fully charged voltage of 1.5 V. A four-cell NiCd pack's voltage will range from 3.6 to 6 V, depending upon its state of charge. When it is attached to the charger, it will pull the output voltage below 7 V and place the LTC1174 into current-limited operation at about 300 mA with the 50-μH inductor shown. Diode D2 prevents the batteries from discharging through the divider network when the charger is shut down by bringing the SHUTDOWN pin low. Less than 10 μA of current is drawn from the sup-ply when the charger is shut down.
Reprinted Url Of This Article:
http://www.seekic.com/circuit_diagram/Basic_Circuit/300_mA_STEP_DOWN_BATTERY_FOUR_CELL_NiCd_CHARGER.html
Print this Page | Comments | Reading(3)
Code: