Published:2009/7/10 2:02:00 Author:May | From:SeekIC

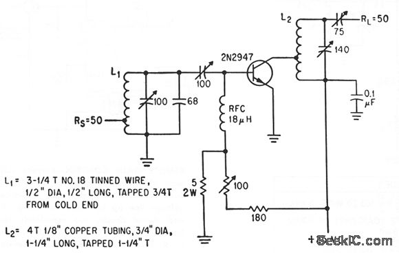
Power gain is 13 db and output is 8 w peak envelope power.-L. E.Clark, E. B. Mack, and R. C. Heihall, Highlights of Small-Signcd Circuit Design, Electronics, 36:49, p 46-50.
Reprinted Url Of This Article:
http://www.seekic.com/circuit_diagram/Basic_Circuit/30_MC_LINEAR_SSB.html
Print this Page | Comments | Reading(3)
Code: