Published:2009/7/14 22:00:00 Author:Jessie | From:SeekIC

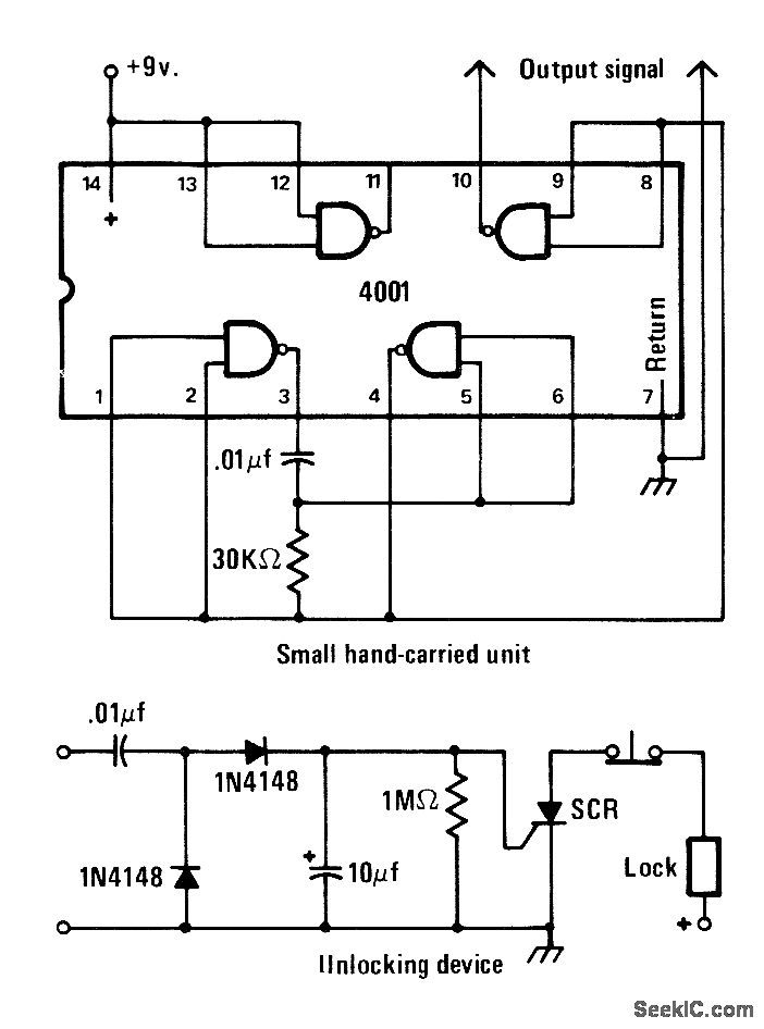
Electric door lock opens only when signal voltage of about 3 kHz is applied to two exposed terminals by holding compact single-IC AF oscillator against terminals. Will not respond to DC or 60-Hz AC. Pocket oscillator operates from 9-V transistor radio battery, with current drawn only when output prongs are held against lock terminals,SCR can be any type capable of handling current drawn by electric lock. -J. A. Sandler, 11 Projects under $11, Modern Electronics, June 1978, p 54-58.
Reprinted Url Of This Article:
http://www.seekic.com/circuit_diagram/Basic_Circuit/3_kHz_TONE_LOCK.html
Print this Page | Comments | Reading(3)
Code: