Published:2009/7/7 4:23:00 Author:May | From:SeekIC

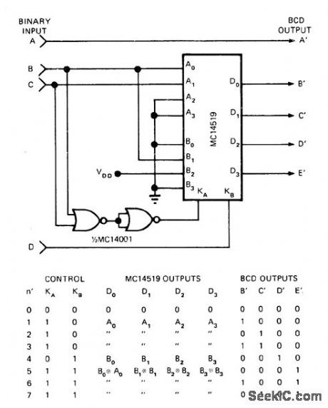
Converts binary number within maohine to BCD value from 0 to 15, for driving visual displays. Requires only quad two-channel data selector with EXCLU-SIVE-NOR function, available in IC packages. Artide gives truth tables and traces operationstep by step.-J. Barnes and J. Tonn, Binaly-to-BCD Converter Implements Simple Algorithm,EDNMagazine, Jan. 5, 1975, p 56, 57, and 59.
Reprinted Url Of This Article:
http://www.seekic.com/circuit_diagram/Basic_Circuit/4_BIT_BINARY_TO_5_BIT_BCD.html
Print this Page | Comments | Reading(3)
Code: