Published:2009/7/6 2:11:00 Author:May | From:SeekIC

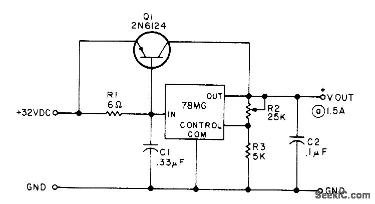
External series-pass transistor boosts 500-mA rated output of 78MG or 79MG regulator to 1.5 A for use as adiustable power supply in lab. Circuit has no short-circuit protection for safe-area limiting for external pass transistor, but article shows how to add protective transistor for this purpose.-J. Tru-Iove, A New Breed of Voltage Regulators, 73 Magazine, March 1977, p 62-64.
Reprinted Url Of This Article:
http://www.seekic.com/circuit_diagram/Basic_Circuit/5_30_V_AT_15_A.html
Print this Page | Comments | Reading(3)
Code: