Published:2009/7/6 2:21:00 Author:May | From:SeekIC

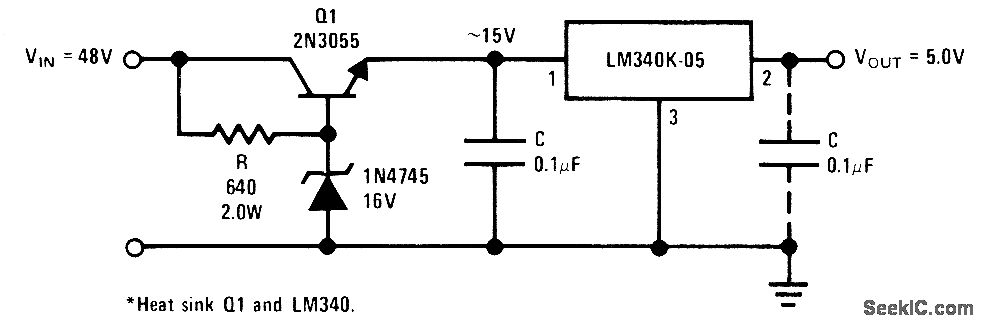
Combillation of zener and resistor R gives equivalent of power zener as solution to regulator protection problem when input voltage is much higher than rated maximum of regulator. Maximum load is 1A. With optional capacitor,circuit noise is only 700μV P-P.-″Linear Applications、Vol.2、″ National Semiconductor,Santa Clara,CA、1976、AN-103,p 10.
Reprinted Url Of This Article:
http://www.seekic.com/circuit_diagram/Basic_Circuit/5_V_FROM_48_V.html
Print this Page | Comments | Reading(3)
Code: