Published:2009/7/23 21:07:00 Author:Jessie | From:SeekIC




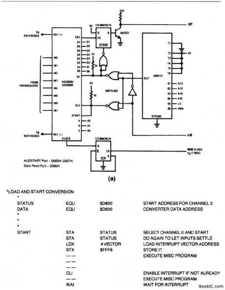
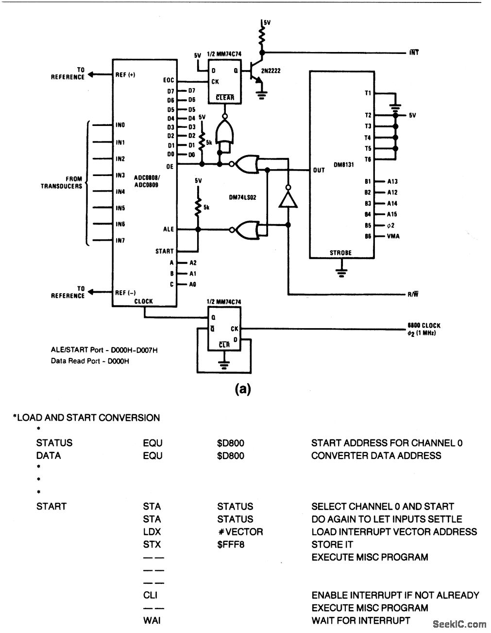
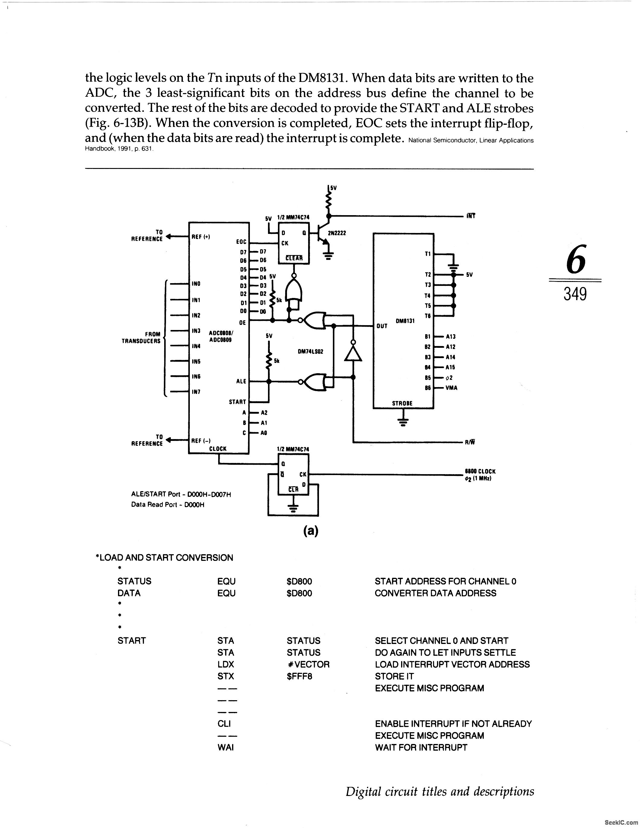
This circuit shows a 6800 polled I/O interface for the ADC0808/0809, with full address decoding. Figure 6-26B shows typical polled routines.
Reprinted Url Of This Article:
http://www.seekic.com/circuit_diagram/Basic_Circuit/6800_polled_interface_for_A_D_converter.html
Print this Page | Comments | Reading(3)
Code: