Published:2009/7/6 1:54:00 Author:May | From:SeekIC

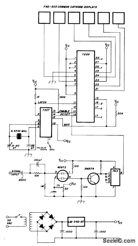
Intersil 7208 CMOS counter provides multiplexing of six digits in Fairchild display operating from 5-V regulated supply. Uses MOSFET 4673 input stage,-H, E. Harris, Simplifying the Digital Frequency Counter, Ham Radio, Feb, 1978, p 22-25.
Reprinted Url Of This Article:
http://www.seekic.com/circuit_diagram/Basic_Circuit/6_MHz_WITH_10_Hz_RESOLUTION.html
Print this Page | Comments | Reading(3)
Code: