Published:2009/7/8 4:44:00 Author:May | From:SeekIC

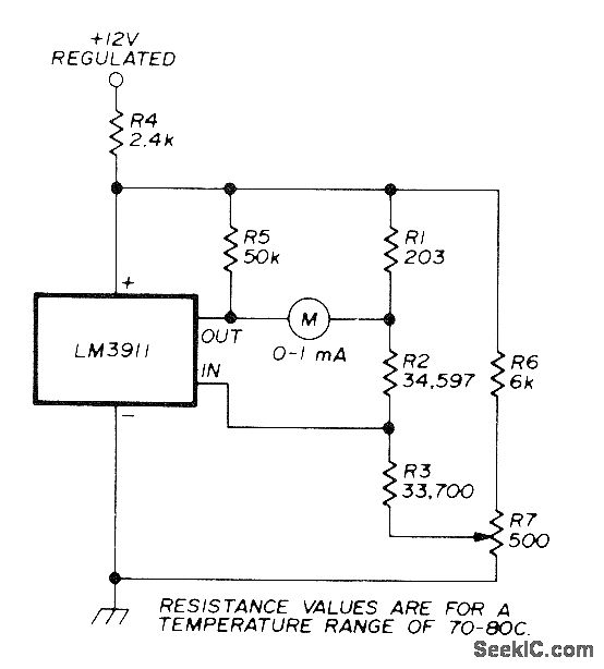
Uses National LM3911 IC having built-in temperature sensor.If no thermometer is available for calibration, set pot R7 to its midpoint. Article gives equations for calculating resistance values for other temperature and meter ranges. Applications indude monitoring of temperature in crystal oven. If permanenUy connected meter is not required, terminals can be provided for checking temperature with multimeter.-F. Schmidt, Precision Temperature Control for Crystal Ovens, Ham Radio, Feb. 1978, p 34-37.
Reprinted Url Of This Article:
http://www.seekic.com/circuit_diagram/Basic_Circuit/70_80°C_THERMOMETER.html
Print this Page | Comments | Reading(3)
Code: