Published:2009/7/7 4:41:00 Author:May | From:SeekIC

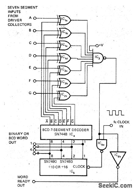
Arrangement uses SN7448 BCD to 7-segment decoder IC4.as lookup table for inverse decoding technique,When desired 7-segment code is applied to input of decoder and does not match output code from IC4.gate IC3,output is logic 1 This allows pulses from clock to advance BCD counter IC5,until its decoded state from IC4 matches that of input code,With coincidence,output of IC3 goes low, holding proper BCD code in IC5,and indicating by means of IC6b that BCD information is ready With 100-kHz clock,correct code is available for at least 90% of digit display time.-J.P.Cater,7-Segment to BCD Decoder,EDN Magazine,Feb.20,1973,p 92-93.
Reprinted Url Of This Article:
http://www.seekic.com/circuit_diagram/Basic_Circuit/7_SEGMENT_TO_BCD_1.html
Print this Page | Comments | Reading(3)
Code: