Published:2009/6/30 1:52:00 Author:May | From:SeekIC

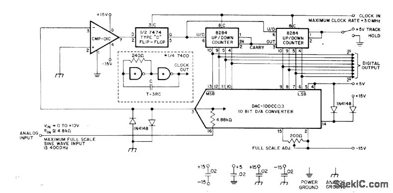
Uses Precision MonolithIcs DAC-100 CCQ3 D/A converter and CMP-01CJ fast precision comparator to make digital data contiguously available at output while tracking analog input. Diode clamps hold DAC output near zero despite input and turn-on transients.Unused least significant digital inputs of 10-bit DAC are turned off by connecting to +5 V as shown. Simple clock circuit shown in dashed box is stable over wide range of temperatures and supply voltages. D/A ionverter is used in feedback configuration to obtain A/D opera-tion.— A Low Cost, High-Performance Tracking A/D Converter, Precision Monolithics, Santa Clara, CA, 1977, AN-6.P 2.
Reprinted Url Of This Article:
http://www.seekic.com/circuit_diagram/Basic_Circuit/8_BIT_TRACKING.html
Print this Page | Comments | Reading(3)
Code: