Published:2009/7/2 7:40:00 Author:May | From:SeekIC

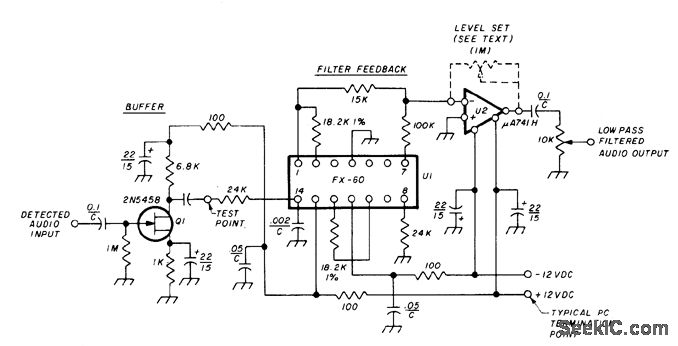
Uses Kinetic Technology FX-60 IC (culled from FS-60, FS-65, and FS-61 production by manufacturer) as 2.5-kHz tunable detected-audio low-pass filter for SSB. Provides inexpensive hybrid active filter using multiloop negative feedback for low-pass transfer functions. External resistors tune filter frequency and give choice of Q. High-impedance buffer Ql provides nominal gain while isolating filter from previous receiver stages.Opamp U2 boosts overall gain.-M. A. Chapman, Audio Filters for Improving SSB and CW Reception,Ham Radio,Nov.1976,p 18-23.
Reprinted Url Of This Article:
http://www.seekic.com/circuit_diagram/Basic_Circuit/ACTIVE_AF_FOR_SSB_AND_CW.html
Print this Page | Comments | Reading(3)
Code: