Published:2009/7/6 7:24:00 Author:May | From:SeekIC

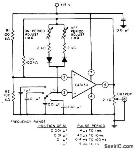
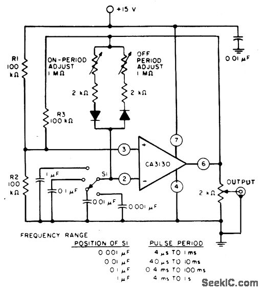
The circuit with independent control of ON and OFF periods uses the CA3130 BiMOS op amp for filters, oscillators, and long-duration timers. With input current at 50 pA, oscillators can utilize large-resist or/small-capacitor combinations without loading effects.
Reprinted Url Of This Article:
http://www.seekic.com/circuit_diagram/Basic_Circuit/ASTABLE_MULTIVIBRATOR.html
Print this Page | Comments | Reading(3)
Code: