Published:2009/7/11 4:29:00 Author:May | From:SeekIC

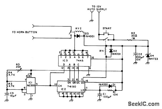
Pressing start button of circuit momentarily makes it send letters H1 in Morse code on automobile horn, as friendly signal to another ham on road. Uses NE555 timer as oscillator, acting with counter 102, decoder IC3, power-supply latch, and regulator. Space betweqn four dots of H and two dots of I is achieved by not using pin 5 of decoder. RY1 should pull in at 5 V and 16 mA maximum,while RY2 should pull in at 5V and 80 mA maximum and have contacts for switching 0.5-A inductive load of horn.-J. F. Reid, Sending HI, 73 Magazine, May 1977, p 90.
Reprinted Url Of This Article:
http://www.seekic.com/circuit_diagram/Basic_Circuit/AUTOMATIC_HI_ON_HORN.html
Print this Page | Comments | Reading(3)
Code: