Published:2009/7/2 4:49:00 Author:May | From:SeekIC

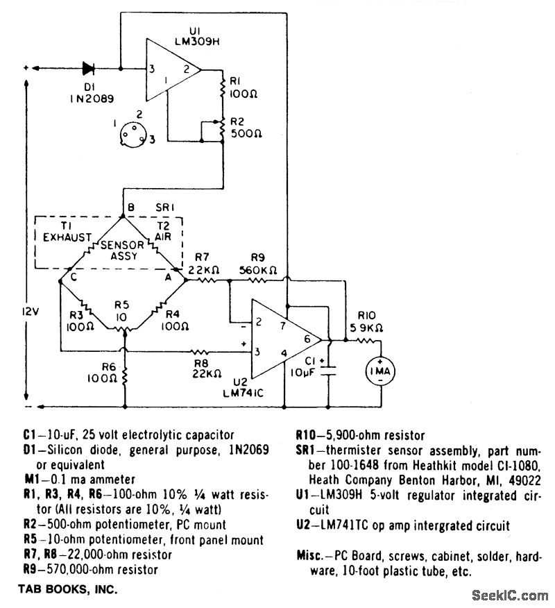
A bridge circuit contains two 100-ohm resistors (R3 and R4), and two thermistors (T1 and T2). At room temperature the resistance of T1 and T2 is about 2000 ohms. When they are each heated to 150℃ by a 10 mA current, the resistance value decreases to 100 ohms. Thus, the four elements comprise a bridge circuit. A characteristic of CO is that it conducts heat away from a thermistor at a different rate than air. One thermistor, T1, is exposed to the automobile exhaust while the other, T2, is isolated in a pure air environment. The difference in thermal conduction unbalances the bridge. A voltage difference is caused between points A and C. A differential amplifier, U1, amplifies this difference and drives the meter with sufficient current to read out the percentage of CO and the air-fuel ratio. A front panel balance control, R5, balances the bridge and calibrates the instrument. Calibration is performed when both thermistors are exposed to the outside air.
Reprinted Url Of This Article:
http://www.seekic.com/circuit_diagram/Basic_Circuit/AUTOMOTIVE_EXHAUST_EMISSIONS_ANALYZER.html
Print this Page | Comments | Reading(3)
Code: