Published:2009/7/1 21:17:00 Author:May | From:SeekIC

Circuit Notes
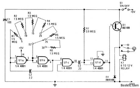
The circuit is built around a 4001 quad two-input N0R gate, it provides switch selectable auto-advance times of 5,10, 15, 20, 25 or 30 seconds through the remote-control socket of your projector. U1a and U1b form an astable multivibrator, with its operating frequency dependent on the number of timing resistors switched into the circuit via S2. The frequency is about one cycle for every five seconds with a single timing resistor, one every ten seconds with two resistors, etc., providing six switched time intervals. The output of the astable at pin 4 of U1b is fed to the input of a monostable multiibrator, consisting of the second pair of gates, U1c and U1d. R7 and C3 are the timing components; they set the length of the (positive) output pulse of the monostable at a little more than half a second. The monostable is triggered by each positive-going input it receives from the astable. The output from the monostable therefore, consists of a series of short pulses, the interval between the pulses being controlled using S2.The output of the monostable (at pin 11) controls a relay by way of Q1, which is configured as an emitter-follower buffer stage. The projector is controlled via the normally-open contacts of relay K1. When the output of the monostable goes positive, the relay contacts close, triggering the slide-change mechanism of the projector. The monostable assures that the power to the relay is applied only briefly by the timer, so that multiple operation of the projector is avoided.
Reprinted Url Of This Article:
http://www.seekic.com/circuit_diagram/Basic_Circuit/AUTO_ADVANCE_PROJECTOR.html
Print this Page | Comments | Reading(3)
Code: