Published:2009/7/13 4:57:00 Author:May | From:SeekIC

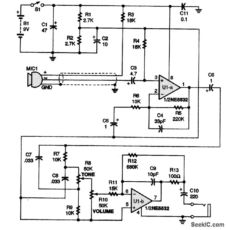
The heart of the stethoscope is the NE5532 audio op amp, U1. That component directly drives low impedances and allows the use of headphones without adding another amplifier.This circuit uses an electret microphone and an audio amplifier using a NE5532 audio op amp as an automotive diagnostic tool. The mike is mounted in a probe or piece of tubing and placed near or on various parts of the engine or other components as an aid in diagnosis; the sound generated by the suspected part is used to determine possible problems.
Reprinted Url Of This Article:
http://www.seekic.com/circuit_diagram/Basic_Circuit/AUTO_STETHOSCOPE.html
Print this Page | Comments | Reading(3)
Code: