Published:2009/7/25 4:34:00 Author:Jessie | From:SeekIC

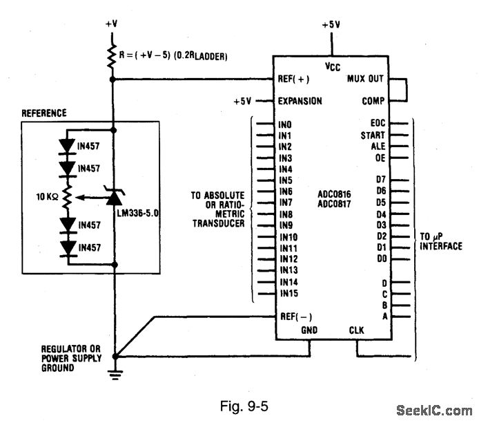
Figure 9-5 shows the ADC0816/17 connected for simple absolute conversion. Absolute conversion refers to the use of transducers with which the output value is not related to another voltage. The absolute value of the output voltage is very important (in contrast to the output voltage of a ratiometric transducer). This implies that the reference must be accurate to determine the value of the absolute output of the transducer. A precise, adjustable reference is provided by an LM336-5.0 and the associated parts. Ratiometric transducers can also be used in this circuit, and in most of the following data-conversion circuits. However, the key point to remember is that accuracy of absolute conversion depends primarily on the accuracy of the reference voltage. With ratiometric systems (Fig. 9-4), accuracy is determined by the transducer characteristics. NATIONAL SEMICONDUCTOR, APPLICATION NOTE 259, 1994, P. 594.
Reprinted Url Of This Article:
http://www.seekic.com/circuit_diagram/Basic_Circuit/Absolute_conversion.html
Print this Page | Comments | Reading(3)
Code: