Published:2009/7/23 23:15:00 Author:Jessie | From:SeekIC

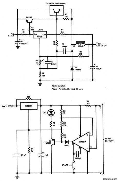
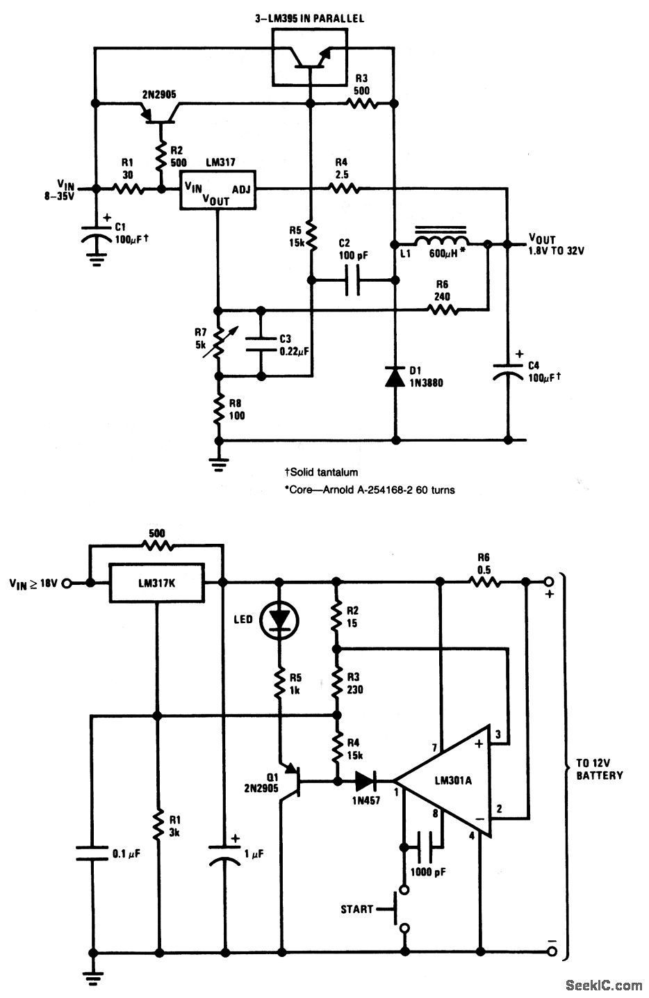
This circuit provides for a quick charge of 12-V gelled-electrolyte lead-acid batteries, and shuts off at full charge. The LED turns on when the battery is fully charged.
Reprinted Url Of This Article:
http://www.seekic.com/circuit_diagram/Basic_Circuit/Analog_Circuit/12_V_BATTERY_CHARGER.html
Print this Page | Comments | Reading(3)
Code: